Llewellyn Loco Works #1
- tom_tom_go
- Driver

- Posts: 4824
- Joined: Wed Feb 23, 2011 3:08 am
- Location: Kent, UK
- Contact:
- Hydrostatic Dazza
- Driver

- Posts: 1266
- Joined: Tue Sep 19, 2017 4:17 am
- Location: Brisbane
- Contact:
Re: Llewellyn Loco Works #1
What is expensive ? Hard for me to answer, as I do the drawing via Solid Works and I send them to Mike, I requested high resolution for the wax prints and white bronze . (I am self taught in Solid Works, I got the 600 page text book and from ground zero to the end over many evenings some years ago)
Previously I did the steam chest covers, then the expansion link supports. These were in silicon bronze. The smoke box saddle was in white bronze and I was impressed.
Mike takes care of the shrinkage allowances.
Chat to Mike about your possible projects. I have found him most helpful and the results most pleasing.
http://stanier-engineering.com/page/our-contact-info/

Last edited by Hydrostatic Dazza on Thu Apr 09, 2020 11:35 pm, edited 3 times in total.
Cheers from Dazza, The Hydrostatic Lubricator
The chances of finding out what’s really going on in the universe are so remote, the only thing to do is hang the sense of it and keep yourself occupied. Douglas Adams
The chances of finding out what’s really going on in the universe are so remote, the only thing to do is hang the sense of it and keep yourself occupied. Douglas Adams
- Hydrostatic Dazza
- Driver

- Posts: 1266
- Joined: Tue Sep 19, 2017 4:17 am
- Location: Brisbane
- Contact:
Re: Llewellyn Loco Works #1
Looking at this Gromit I can see that senior management will have the red editing pen out again on these tender frame drawings.








Cheers from Dazza, The Hydrostatic Lubricator
The chances of finding out what’s really going on in the universe are so remote, the only thing to do is hang the sense of it and keep yourself occupied. Douglas Adams
The chances of finding out what’s really going on in the universe are so remote, the only thing to do is hang the sense of it and keep yourself occupied. Douglas Adams
- bambuko
- Trainee Fireman

- Posts: 212
- Joined: Tue Dec 12, 2017 12:11 am
- Location: UK, England, North Devon
Re: Llewellyn Loco Works #1
I was hoping you'd indicate the price you've paid for these beauties so that we can all individually decide whether it is something for us as well (we all have different pain treshhold
- Hydrostatic Dazza
- Driver

- Posts: 1266
- Joined: Tue Sep 19, 2017 4:17 am
- Location: Brisbane
- Contact:
Re: Llewellyn Loco Works #1
bambuko wrote: ↑Fri Apr 10, 2020 9:24 amI was hoping you'd indicate the price you've paid for these beauties so that we can all individually decide whether it is something for us as well (we all have different pain treshhold), but if you cannot (or do not want to) go public with this, that's no problem at all. I can ask Mike directly
![]()
Best to ask Mike what a set of 4 castings like these will cost you and postage.
Cheers from Dazza, The Hydrostatic Lubricator
The chances of finding out what’s really going on in the universe are so remote, the only thing to do is hang the sense of it and keep yourself occupied. Douglas Adams
The chances of finding out what’s really going on in the universe are so remote, the only thing to do is hang the sense of it and keep yourself occupied. Douglas Adams
- Hydrostatic Dazza
- Driver

- Posts: 1266
- Joined: Tue Sep 19, 2017 4:17 am
- Location: Brisbane
- Contact:
Re: Llewellyn Loco Works #1
The lads get stuck into making swarf. Took them all day. The red editing pen was out frequently and the 3D and 2D CAD drawings updated.














Cheers from Dazza, The Hydrostatic Lubricator
The chances of finding out what’s really going on in the universe are so remote, the only thing to do is hang the sense of it and keep yourself occupied. Douglas Adams
The chances of finding out what’s really going on in the universe are so remote, the only thing to do is hang the sense of it and keep yourself occupied. Douglas Adams
- Hydrostatic Dazza
- Driver

- Posts: 1266
- Joined: Tue Sep 19, 2017 4:17 am
- Location: Brisbane
- Contact:
Re: Llewellyn Loco Works #1
" Yep, management gave the editing pen a work out Shaun"


Cheers from Dazza, The Hydrostatic Lubricator
The chances of finding out what’s really going on in the universe are so remote, the only thing to do is hang the sense of it and keep yourself occupied. Douglas Adams
The chances of finding out what’s really going on in the universe are so remote, the only thing to do is hang the sense of it and keep yourself occupied. Douglas Adams
- Hydrostatic Dazza
- Driver

- Posts: 1266
- Joined: Tue Sep 19, 2017 4:17 am
- Location: Brisbane
- Contact:
Re: Llewellyn Loco Works #1
The lads put some hours in the Red Room. There was hope to have the tender frames wheeled by the end of Monday, but nah, too much gossiping.......







A few mods and additions to the Tender frame mill fixture for drilling the axle mount back plates and castings.












A few mods and additions to the Tender frame mill fixture for drilling the axle mount back plates and castings.





Cheers from Dazza, The Hydrostatic Lubricator
The chances of finding out what’s really going on in the universe are so remote, the only thing to do is hang the sense of it and keep yourself occupied. Douglas Adams
The chances of finding out what’s really going on in the universe are so remote, the only thing to do is hang the sense of it and keep yourself occupied. Douglas Adams
- tom_tom_go
- Driver

- Posts: 4824
- Joined: Wed Feb 23, 2011 3:08 am
- Location: Kent, UK
- Contact:
Re: Llewellyn Loco Works #1
What is the distance between the axles on the tender?
I ask because you may be able to fit the Lady Anne Slomo that does not use a chain.
I ask because you may be able to fit the Lady Anne Slomo that does not use a chain.
- Hydrostatic Dazza
- Driver

- Posts: 1266
- Joined: Tue Sep 19, 2017 4:17 am
- Location: Brisbane
- Contact:
Re: Llewellyn Loco Works #1
tom_tom_go wrote: ↑Wed Apr 15, 2020 8:43 am What is the distance between the axles on the tender?
I ask because you may be able to fit the Lady Anne Slomo that does not use a chain.
Food for thought.
88.9mm however if you fit a loco mech then only one axle will be driven, unlike a loco where the driving wheels are coupled so perhaps one wheel connected to a slow mo may have problems with skidding ? I certainly did not think of fitting a loco mech and Terry never mentioned this in out phone chats.
As I learn more about this little steamer construction I would have never bothered with the pump and fitted the Slomo into the loco, but alas I was too late when I discovered the value of the Slomo, so the tender was added to this freelance design.
Cheers from Dazza, The Hydrostatic Lubricator
The chances of finding out what’s really going on in the universe are so remote, the only thing to do is hang the sense of it and keep yourself occupied. Douglas Adams
The chances of finding out what’s really going on in the universe are so remote, the only thing to do is hang the sense of it and keep yourself occupied. Douglas Adams
- Hydrostatic Dazza
- Driver

- Posts: 1266
- Joined: Tue Sep 19, 2017 4:17 am
- Location: Brisbane
- Contact:
Re: Llewellyn Loco Works #1
Senior management works on her loco
Close to the test steaming, maybe this weekend.

There is some pondering over the plumbing and boiler fittings.


Close to the test steaming, maybe this weekend.

There is some pondering over the plumbing and boiler fittings.


Cheers from Dazza, The Hydrostatic Lubricator
The chances of finding out what’s really going on in the universe are so remote, the only thing to do is hang the sense of it and keep yourself occupied. Douglas Adams
The chances of finding out what’s really going on in the universe are so remote, the only thing to do is hang the sense of it and keep yourself occupied. Douglas Adams
- tom_tom_go
- Driver

- Posts: 4824
- Joined: Wed Feb 23, 2011 3:08 am
- Location: Kent, UK
- Contact:
Re: Llewellyn Loco Works #1
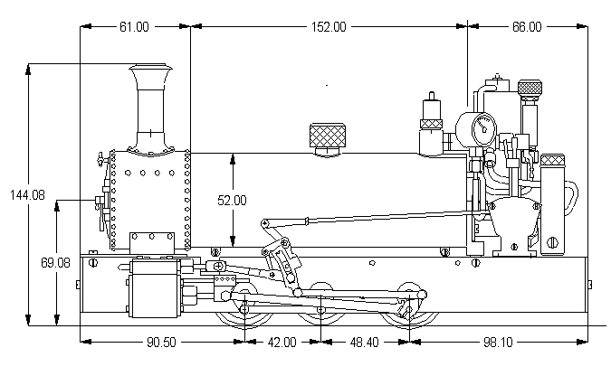
Lady Anne chassis:
The Lady Anne SSP Slomo fits between the rear axle and middle axle.
All the locos I have fitted with this type of slomo have not experienced 'skidding' while pulling a dead loco that exceeds the weight of the loco pulling:
The Lady Anne SSP Slomo fits between the rear axle and middle axle.
All the locos I have fitted with this type of slomo have not experienced 'skidding' while pulling a dead loco that exceeds the weight of the loco pulling:
- Hydrostatic Dazza
- Driver

- Posts: 1266
- Joined: Tue Sep 19, 2017 4:17 am
- Location: Brisbane
- Contact:
Re: Llewellyn Loco Works #1
More holes, no threads in the backing plates was a recent decision from Senior Management after some discussions with the workshop head foredog.


Then the Tender frame was wheeled and placed next to the loco chassis for the first time, just for kicks and giggles.







Then the Tender frame was wheeled and placed next to the loco chassis for the first time, just for kicks and giggles.





Cheers from Dazza, The Hydrostatic Lubricator
The chances of finding out what’s really going on in the universe are so remote, the only thing to do is hang the sense of it and keep yourself occupied. Douglas Adams
The chances of finding out what’s really going on in the universe are so remote, the only thing to do is hang the sense of it and keep yourself occupied. Douglas Adams
- Hydrostatic Dazza
- Driver

- Posts: 1266
- Joined: Tue Sep 19, 2017 4:17 am
- Location: Brisbane
- Contact:
Re: Llewellyn Loco Works #1
tom_tom_go wrote: ↑Wed Apr 15, 2020 10:01 pm Lady Anne chassis:
ladyannekitdimen.jpg.gif
The Lady Anne SSP Slomo fits between the rear axle and middle axle.
All the locos I have fitted with this type of slomo have not experienced 'skidding' while pulling a dead loco that exceeds the weight of the loco pulling:
Interesting, however I have had the tender Slomo on hand here for many months so it is too late for a new mech and redesign. As usual when one learns more with the passage of time, however if it helps others in the future.
Cheers from Dazza, The Hydrostatic Lubricator
The chances of finding out what’s really going on in the universe are so remote, the only thing to do is hang the sense of it and keep yourself occupied. Douglas Adams
The chances of finding out what’s really going on in the universe are so remote, the only thing to do is hang the sense of it and keep yourself occupied. Douglas Adams
- Hydrostatic Dazza
- Driver

- Posts: 1266
- Joined: Tue Sep 19, 2017 4:17 am
- Location: Brisbane
- Contact:
Re: Llewellyn Loco Works #1
Looking at your video, that is how locos should move. That is sweet. When one reads of people fussing over details, being critical of details and realistic modeling and then their locos look a whippets chasing cats around the track .............................
Cheers from Dazza, The Hydrostatic Lubricator
The chances of finding out what’s really going on in the universe are so remote, the only thing to do is hang the sense of it and keep yourself occupied. Douglas Adams
The chances of finding out what’s really going on in the universe are so remote, the only thing to do is hang the sense of it and keep yourself occupied. Douglas Adams
- Keith S
- Driver

- Posts: 1666
- Joined: Thu Feb 24, 2011 11:44 pm
- Location: Canada
Re: Llewellyn Loco Works #1
I think you will be satisfied with the flywheel device being mounted in the tender. With the device not being on a driven axle, of course there is the possibility of wheel-slip on the loco itself when starting, just like you would get with a full-size locomotive. Depending how you feel about it one could argue this is even more realistic, requiring some finesse on the regulator while starting up.
I have a momentum device mounted in a weighted wagon and it seems to work fine with only one axle being geared to the flywheel. I prefer to run without R/C so mine is only there to stop it running "like a whippet" which of course is even more of a problem without R/C.
I too find videos in which the locomotives hurl themselves around masslessly almost unbearable to watch, especially when a great many of them also seem to suffer from badly adjusted valve timing. How the operators find the lumpy chuffing sound bearable is beyond me.
The only time I have noticed "dragging" being an issue is when I have allowed the rails to get very greasy. On greasy rails the locomotive is quite capable of dragging the momentum vehicle but it seems to be a transient effect and again a deft hand on the regulator would mitigate this.
With a hard coupling between your loco and tender I predict you will be quite satisfied with the "Slomo" being in the tender.
With respect to the tender by the way, I have never seen such nice, clean castings as those axle box/spring details. They really look good. That tender will be quite a handsome vehicle in its own right.
I have a momentum device mounted in a weighted wagon and it seems to work fine with only one axle being geared to the flywheel. I prefer to run without R/C so mine is only there to stop it running "like a whippet" which of course is even more of a problem without R/C.
I too find videos in which the locomotives hurl themselves around masslessly almost unbearable to watch, especially when a great many of them also seem to suffer from badly adjusted valve timing. How the operators find the lumpy chuffing sound bearable is beyond me.
The only time I have noticed "dragging" being an issue is when I have allowed the rails to get very greasy. On greasy rails the locomotive is quite capable of dragging the momentum vehicle but it seems to be a transient effect and again a deft hand on the regulator would mitigate this.
With a hard coupling between your loco and tender I predict you will be quite satisfied with the "Slomo" being in the tender.
With respect to the tender by the way, I have never seen such nice, clean castings as those axle box/spring details. They really look good. That tender will be quite a handsome vehicle in its own right.
- Hydrostatic Dazza
- Driver

- Posts: 1266
- Joined: Tue Sep 19, 2017 4:17 am
- Location: Brisbane
- Contact:
Re: Llewellyn Loco Works #1
Thanks Keith for your nice compliments and the info, much appreciated.Keith S wrote: ↑Fri Apr 17, 2020 9:19 pm I think you will be satisfied with the flywheel device being mounted in the tender. With the device not being on a driven axle, of course there is the possibility of wheel-slip on the loco itself when starting, just like you would get with a full-size locomotive. Depending how you feel about it one could argue this is even more realistic, requiring some finesse on the regulator while starting up.
I have a momentum device mounted in a weighted wagon and it seems to work fine with only one axle being geared to the flywheel. I prefer to run without R/C so mine is only there to stop it running "like a whippet" which of course is even more of a problem without R/C.
I too find videos in which the locomotives hurl themselves around masslessly almost unbearable to watch, especially when a great many of them also seem to suffer from badly adjusted valve timing. How the operators find the lumpy chuffing sound bearable is beyond me.
The only time I have noticed "dragging" being an issue is when I have allowed the rails to get very greasy. On greasy rails the locomotive is quite capable of dragging the momentum vehicle but it seems to be a transient effect and again a deft hand on the regulator would mitigate this.
With a hard coupling between your loco and tender I predict you will be quite satisfied with the "Slomo" being in the tender.
With respect to the tender by the way, I have never seen such nice, clean castings as those axle box/spring details. They really look good. That tender will be quite a handsome vehicle in its own right.
I will have a zero play coupling for the loco and tender, more at that later. The castings are all the witch craft of Mike Jack in NZ who does a lot of this for the ME world. I just supplied the drawings and as usual I see later with a fresh eye, mistakes and things I would change. The thing that tickled me was the spring leafs, I was worried about getting the impression correct for the individual leafs. I feel I got that right, yay!
Cheers from Dazza, The Hydrostatic Lubricator
The chances of finding out what’s really going on in the universe are so remote, the only thing to do is hang the sense of it and keep yourself occupied. Douglas Adams
The chances of finding out what’s really going on in the universe are so remote, the only thing to do is hang the sense of it and keep yourself occupied. Douglas Adams
- Hydrostatic Dazza
- Driver

- Posts: 1266
- Joined: Tue Sep 19, 2017 4:17 am
- Location: Brisbane
- Contact:
Re: Llewellyn Loco Works #1
Rear buffer beam is done, but the addition of dummy rivets which will come later.








Cheers from Dazza, The Hydrostatic Lubricator
The chances of finding out what’s really going on in the universe are so remote, the only thing to do is hang the sense of it and keep yourself occupied. Douglas Adams
The chances of finding out what’s really going on in the universe are so remote, the only thing to do is hang the sense of it and keep yourself occupied. Douglas Adams
- Hydrostatic Dazza
- Driver

- Posts: 1266
- Joined: Tue Sep 19, 2017 4:17 am
- Location: Brisbane
- Contact:
Re: Llewellyn Loco Works #1
Right t O Feathers, this buffer beam is done, take it over to the erection shop.




Cheers from Dazza, The Hydrostatic Lubricator
The chances of finding out what’s really going on in the universe are so remote, the only thing to do is hang the sense of it and keep yourself occupied. Douglas Adams
The chances of finding out what’s really going on in the universe are so remote, the only thing to do is hang the sense of it and keep yourself occupied. Douglas Adams
- Hydrostatic Dazza
- Driver

- Posts: 1266
- Joined: Tue Sep 19, 2017 4:17 am
- Location: Brisbane
- Contact:
Re: Llewellyn Loco Works #1
Management's cunning plan is to have simple and quick draw bar unhitching from the tender to loco via a special M3 cap head under the timber cab floor.

"Management said, one year, no worries, it will be nice simple quick Loco build job, eh Preston. Three years later here we are making draw bar drag box blocks"


"Management said, one year, no worries, it will be nice simple quick Loco build job, eh Preston. Three years later here we are making draw bar drag box blocks"

Cheers from Dazza, The Hydrostatic Lubricator
The chances of finding out what’s really going on in the universe are so remote, the only thing to do is hang the sense of it and keep yourself occupied. Douglas Adams
The chances of finding out what’s really going on in the universe are so remote, the only thing to do is hang the sense of it and keep yourself occupied. Douglas Adams
Who is online
Users browsing this forum: No registered users and 38 guests